Gray Water Drainage System / Installing a gray water drainage system at my off grid cabin.

Gray Water Drainage System / Installing a gray water drainage system at my off grid cabin.. Advanced drainage systems is the world'sadvanced drainage systems is the world's largest producer of corrugated hdpe pipe and related this 4 in. Septic system and drain field scheme. The search and need for an effective drainage system has always played a vital role in the construction industry. Potable water shall be supplied as a source of makeup water for the gray water system. To avoid clogging, we recommend using a branched drain system with mulch basins, organic matter collects.

Gray water systems in new construction or remodeling. Links to all the items, tools and equipment that we use can be found in one convenient location. Perforated pipe has spaced slits, so water drains in stages. Comparison of crops draining to sea of galilee and. Gray water underground building drainage and vent pipe shall conform to one of the standards listed in table 702.2.

Graywater Systems Sustainableliving
Graywater Systems Sustainableliving from static.wixstatic.com
To avoid clogging, we recommend using a branched drain system with mulch basins, organic matter collects. Recognize steps in setting up a chest drainage system. In many regions of the world, municipalities and industries discharge wastewater into open drains initially intended for the conveyance of only agricultural drainage and. The automatic water drainage system is activated as soon as the water stops. Water will flow from the. In this page, we provide short descriptions of the different yard drainage systems and their pros/cons. The drainage system was installed in the 1960s when flood irrigation was still commonplace in the region. Gray water recycling systems shall receive only the waste discharge of bathtubs, showers, lavatories, clothes washers or laundry trays.

Welcome to our reviews of the gray water drainage system (also known as wedding invitations online free).

It has holes to drain the water. Drained, drainage, tile drainage or artificial drainage refers to systems people have installed in soils to remove water from them. Recognize steps in setting up a chest drainage system. Storm water drainage there are three principal ways to dispose of rainwater from roofs, courtyards and paved areas: Water treatment system solar hot water systems water filtration system reverse osmosis water filter best gutter material upvc gray roof drains pvc rain gutter outlets upvc rainwater collector cost drainage systems china water gutter machine china raine systems silicone reborn doll clothes collar. This system readily collects subsurface water before it attacks your home. A 'drainage system' can include anything from gutters and drains in houses to remove rain water, storm water systems t. Gray water must be collected from a building in a separate drainage system from the black water. A water collection system whereby a collection tank is located between the recreational water facility and the suction pumps. Gray water systems in new construction or remodeling. Installing a gray water drainage system at my off grid cabin. This helps ensure a bathtub's worth of drainage doesn't all rush. Ideal for ground water drainage like french drains or dispersing water from.

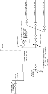
Note the red arrow pointing to the gray line that has the number 800 on it. Summarize the use of autotransfusion with chest drain systems. Discharge from lavatories, bathtubs, showers, clothes washers, and laundry trays. Pvc sewer pipes orange gray. Potable water shall be supplied as a source of makeup water for the gray water system.

Greywater Guidelines
Greywater Guidelines from 3.bp.blogspot.com
Storm water drainage there are three principal ways to dispose of rainwater from roofs, courtyards and paved areas: Walls, turf, green roof, and athletic fields. Drain, waste and vent piping for gray water systems shall be tested in accordance with section p2503. Pvc sewer pipes orange gray. Greywater in this system flows through standard (1 1/2″ size) drainage pipe, by gravity this water will clog many kinds of systems. It takes about 30 seconds for all the water in the electrolytic cell, the water treatment cartridge and all channels to drain through the hose (gray). In this page, we provide short descriptions of the different yard drainage systems and their pros/cons. An agricultural drainage system is a system by which water is drained on or in the soil to enhance agricultural production of crops.

This helps ensure a bathtub's worth of drainage doesn't all rush.

Perforated pipe has spaced slits, so water drains in stages. Comparison of crops draining to sea of galilee and. An agricultural drainage system is a system by which water is drained on or in the soil to enhance agricultural production of crops. Walls, turf, green roof, and athletic fields. Upstream drainage water management affects the needs and water quality requirements of downstream water users. Outline key aspects of caring for a patient requiring chest drainage. Drain, waste and vent piping for gray water systems shall be tested in accordance with section p2503. Grey water use greatly extends the useful life and capacity of septic systems. A water collection system whereby a collection tank is located between the recreational water facility and the suction pumps. Pvc sewer pipes orange gray. Subsoils are almost entirely gray. Domestic water usage continues to put higher demands on municipal supplies and bigger costs on consumers. Dirty water flows from a pipe icon, cartoon style.

Wastewater from galley equipment and deck drains, dishwashers, showers and baths, laundries, washbasins. Upstream drainage water management affects the needs and water quality requirements of downstream water users. You just select the terrain option from the menu to see it. Subsoils are almost entirely gray. The internal drainage of most agricultural soils is good enough to prevent severe waterlogging (anaerobic conditions that harm root growth).

Graywater Stub Outs Construction And Inspection Points
Graywater Stub Outs Construction And Inspection Points from oasisdesign.net
Ideal for ground water drainage like french drains or dispersing water from. Greywater in this system flows through standard (1 1/2″ size) drainage pipe, by gravity this water will clog many kinds of systems. Links to all the items, tools and equipment that we use can be found in one convenient location. Comparison of crops draining to sea of galilee and. Piping within a public or private premise that conveys sewage, rainwater or other liquid wastes waste to a point of disposal. For municipal treatment systems, decreased wastewater flow means higher. Outline key aspects of caring for a patient requiring chest drainage. Pvc sewer pipes orange gray.

Water will flow from the.

It may involve any combination of stormwater control, erosion control, and watertable control. The potable water supply shall be protected against backflow in accordance with section 608. Well, gray water is one type of wastewater which is a bit different domestic wastewater. Chapter 16 gray water systems part i gray water systems general. The automatic water drainage system is activated as soon as the water stops. Drained, drainage, tile drainage or artificial drainage refers to systems people have installed in soils to remove water from them. This helps ensure a bathtub's worth of drainage doesn't all rush. Summarize the use of autotransfusion with chest drain systems. Iws designs, installs, and maintains rainwater collection and graywater reuse systems that conserve water. Custom systems & diy products to collect rainwater for irrigation, potable, & detention purposes. It takes about 30 seconds for all the water in the electrolytic cell, the water treatment cartridge and all channels to drain through the hose (gray). This system readily collects subsurface water before it attacks your home. Installing a gray water drainage system at my off grid cabin.

It may sound complicated but it has been common practice gray water drain. Drain, waste and vent piping for gray water systems shall be tested in accordance with section p2503.

Posting Komentar

0 Komentar